[ВХОД]

28.03.26(13:51)

skif.biz

Альтернативная энергия. Оставь надежду, всяк сюда входящий...

🏠 Главная | 📚 Содержание | 💬 Форум | 📁 Файлы | 📩 Контакт

📱 | 🖨️

Форум - Ветро- и гидро- и солнечные генераторы - Новые ветро и гидрогенераторы - Термоядрёная (е)лектростанция - Стр:1
[ 1 | 2 ] [>
Модератор: missioner
missioner | Post:192658 - Date: 26.07.09(11:02)
Тут кто-то говорил про наполнение колоколов воздухом и последующее их всплытие. Я вот тут сидел на днях около котла,варенье варил,подумывал про кипячение,как бы не допустить, а то варенье через края лезеть. И тут возникла очередная идея:
Всплывающие со дна кипящего котла пузырьки пара,они же тоже могут совершать работу по подъёму колокола. Примерный набросок адской машины(котёл с кипящей жидкостью,можно серой) такой:
Всё те же самые колокола или поплавки(приделанные хоть к колесу хоть к транспортёру) находятся в жидкости близкой к температуре кипения(само собой эта жидкость должна быть хорошо термоизолированной) В одном месте на дне располагаем кипятильник, он доводит эту зону до кипения,появляются паровые пузыри они оторвавшись от кипятильника попадают под колокола или выдавливают воду из поплавков,те всплывают,вращая при этом вал генератора,на поверхности освобождают от себя колокола или поплавки,те вновь, немножко в другом месте опускаются к кипятильнику(или внутри поплавков кипятильник выключается и выпускается пар из поплавка,позволяя заполнить его жидкостью) далее процесс повторяется. Пар из поверхности направляется на утилизацию,на отопление али ещё куда,сгенерированная генератором электроэнергия направляется в кипятильник,поддерживая кипение и процесс идёт в непрерывном режиме,добавляй только водичку(жидкость) в котёл,Надо в начале только израсходовать энергию на разогрев жидкости до температуры кипения а дальше процесс идёт сам.....
Для улучшения тяговых характеристик поплавков надо будет стремиться к использованию очень плотных жидкостей наверно даже ртути только находиться возле станций с ртутью наверно будет опасно,лучше скорее всего жидкий натрий.
Желающие могут попробовать просчитать энергетический балланс этого устройства.Мне каатца при кипений кипящие пузырьки будут занимать гораздо больший объём(соответственно создавая большую тягу) чем выделившиеся из воды при электролизе пузырьки кислородо-водородной смеси при израсходований того же количества энергий.......
P.S. Посмотрим, через какое время эта идея появится на [ссылка] под чьей-нить хвамилией.А может самому подсуетиться?
Термоядрёный реактор
 Термоядрёный реактор
Размер: 21.17 KB

_________________
Здесь хранится СЕ суперавтотрансгенератор https://www.skif.biz/index.php?name=Forums&file=viewtopic&p=875842#875842 https://disk.yandex.ru/d/T_H9tIHpXVb8dw Дополненная версия с видео: https://disk.yandex.ru/d/RUQMOtXIHzRo7Q


almaster | Post:192670 - Date: 26.07.09(14:08)
missioner Пост: 192658 От 26.Jul.2009 (12:02)
...Я вот тут сидел на днях около котла,варенье варил,... И тут возникла очередная идея:...
😎
Я переживаю, с вареньем все благополучно?😊
Кстати, из чего варенье?😛

_________________
Не плывите по течению. Не плывите против течения. Плывите туда, куда вам нужно.


missioner | Post:192690 - Date: 26.07.09(17:54)
С вареньем всё путём. Из вишни оно. Щас таскать в подпол буду. Раньше делал из яблок но заработал изжогу,не могу яблоки и яблочное много кушать.Так и до авитаминозу недалёко. А с идеей,вот ведь,термоядрёный, можно сказать,реактор,давайте раскритиковывайте

_________________
Здесь хранится СЕ суперавтотрансгенератор https://www.skif.biz/index.php?name=Forums&file=viewtopic&p=875842#875842 https://disk.yandex.ru/d/T_H9tIHpXVb8dw Дополненная версия с видео: https://disk.yandex.ru/d/RUQMOtXIHzRo7Q


almaster | Post:192691 - Date: 26.07.09(18:09)
Не знаю,
ИМХО похоже на обычную ТЭЦ.
У тебя же при такой технологии не будет энергии
на выходе выше теплотворности затраченных дров.
Или я что-то упустил?

_________________
Не плывите по течению. Не плывите против течения. Плывите туда, куда вам нужно.


missioner | Post:192694 - Date: 26.07.09(18:27)
Возможно.но я предполагаю что се должна возникнуть из следующих факторов:Нагрев жидкости до температуры кипения(от температуры до кипения) и израсходованная при этом энергия и энергия от утилизаций тепла пара---балланс по нулям т.е нет сверхъединицы. а энергия,которую выделит поле гравитаций земли при подъёме паровых пузырьков на поверхность---это усё халява, которую необходимо правильно спользовать

_________________
Здесь хранится СЕ суперавтотрансгенератор https://www.skif.biz/index.php?name=Forums&file=viewtopic&p=875842#875842 https://disk.yandex.ru/d/T_H9tIHpXVb8dw Дополненная версия с видео: https://disk.yandex.ru/d/RUQMOtXIHzRo7Q


rezoner | Post:192711 - Date: 26.07.09(21:04)
missioner Пост: 192694 От 26.Jul.2009 (19:27)
Возможно.но я предполагаю что се должна возникнуть из следующих факторов:Нагрев жидкости до температуры кипения(от температуры до кипения) и израсходованная при этом энергия и энергия от утилизаций тепла пара---балланс по нулям т.е нет сверхъединицы. а энергия,которую выделит поле гравитаций земли при подъёме паровых пузырьков на поверхность---это усё халява, которую необходимо правильно спользовать

Автор патента №2080485 поместил агрегат в камеру и откачал воздух. Вода легко вскипает при комнатной температуре при уменьшении давления в гильзах.
В твоем случае вакуум тоже поможет.


rezoner | Post:192723 - Date: 26.07.09(22:49)
Вот еще. Можно в нижней точке внутри поплавка зажечь искру, которая мгновенно вытестит воду из поплавка, после чего клапан закроет доступ воды внутрь, и внутри будет сохраняться вакуум в течение всего времени подъема поплавка вверх. Вверху клапан открывается, и поплавок заполняется водой.

Тут, впрочем, нужно ДедИвана попытать, затраты на создание искры будут больше или меньше работы по вытеснению воды из поплавка А=V*h*ro*g ?😀

andy8mm | Post:192732 - Date: 27.07.09(00:02)
missioner, rezoner, а чем столбовая-микроГЭС от Гравио не нравится?
Там пузырёк работает на отпускание столба жидкости вниз, а затем подрыв этого пузырька-гремучки втягивает воду вверх на прежнюю высоту. И вреда поменьше чем от ртути.

rezoner | Post:192734 - Date: 27.07.09(00:07)
andy8mm

А что, уже запустил кто столбик от Гравио? 😘

Все-таки возни со столбом много. Все-равно нужен преобразователь во вращение вала генератора. Колесо от Гравио в итоге, наверно, проще.

missioner | Post:192739 - Date: 27.07.09(00:21)
С вакуумной камерой наверно также возня будет,ведь надо будет её также поддерживать.Резонёр.Патент №2080485. Можно поподробнее?

_________________
Здесь хранится СЕ суперавтотрансгенератор https://www.skif.biz/index.php?name=Forums&file=viewtopic&p=875842#875842 https://disk.yandex.ru/d/T_H9tIHpXVb8dw Дополненная версия с видео: https://disk.yandex.ru/d/RUQMOtXIHzRo7Q


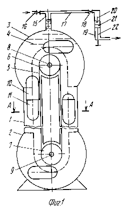
rezoner | Post:192740 - Date: 27.07.09(00:27)
missioner, вот картинка. Из неё все понятно.

А описание посмотри на сайте ФИПС


Размер: 61.61 KB


Размер: 275.23 KB

missioner | Post:192745 - Date: 27.07.09(00:41)
Понял так,что у него этот агрегат работает в цикличном режиме,то создаётся разрежение то убирается Ему осталось только кипятильник добавить😘 Я здесь кажется уже опять опоздал. Или он недомыслил

_________________
Здесь хранится СЕ суперавтотрансгенератор https://www.skif.biz/index.php?name=Forums&file=viewtopic&p=875842#875842 https://disk.yandex.ru/d/T_H9tIHpXVb8dw Дополненная версия с видео: https://disk.yandex.ru/d/RUQMOtXIHzRo7Q


rezoner | Post:192746 - Date: 27.07.09(00:42)
missioner Пост: 192741 От 27.Jul.2009 (01:33)
Понял так,что у него этот агрегат работает в цикличном режиме,то создаётся разрежение то убирается


Нет. Давление снижается до уровня кипения при окружающей температуре.

Хотя я не уверен, что устройство работает. Непонятно, за счет чего СЕ. 😀

missioner | Post:192749 - Date: 27.07.09(00:50)
Я тоже подумал что при постоянном разрежений его аппарат работать не сможет,ему же надо периодически давать закипать воде.Но может это было его ноу-хау,тогда я впереди на полшишки И надо только объединить его и мою идею и получим наверно самый настоящий термоядрёный генератор. Наверно все посты за сегодняшний и вчерашний день нужно выделить в отдельную тему

_________________
Здесь хранится СЕ суперавтотрансгенератор https://www.skif.biz/index.php?name=Forums&file=viewtopic&p=875842#875842 https://disk.yandex.ru/d/T_H9tIHpXVb8dw Дополненная версия с видео: https://disk.yandex.ru/d/RUQMOtXIHzRo7Q


almaster | Post:192751 - Date: 27.07.09(03:34)
не забудьте о том, что даже если давление воздуха в котле около нуля,
ВСЕ РАВНО будет ДАВЛЕНИЕ ВОДЫ! (если кипятильник на дне)
В этой связи пример:
Один чудак на букву "М" с докторской степенью создавал технологию подъёма
конкреций со дна океана (6000 м)с помошью АЭРОЛИФТА. Принцип такой: разложение
воды на водород и кислород электролизом там, на дне, газы, поднимаясь, поднимают конкреции, затем газы сжигаются для получения электроэнергии.
Так у чувака при первом расчёте КПД системы 118% получился.
Он около месяца сообразить ничего не мог, пока не накопал работу, где приводились данные о том, что при таком давлении соответственно повышаются энергозатраты на электролиз. Т.е. мощи надо больше прилагать.
После этого всё стало на свои места.
Опять же: создадите вакуум в котле, а пар-то его быстро "компенсирует"!
Т.е., я никого не отговариваю, но надо всё учитывать!😀🙄😘😘

_________________
Не плывите по течению. Не плывите против течения. Плывите туда, куда вам нужно.


pendik | Post:192755 - Date: 27.07.09(05:19)
Чтобы убавить у Вас иллюзий:
У нас по "ящику для идиота" показывали ...(научно-популярная передача)...
Брали прозрачную емкость с водой и начали откачивать воздух (предварительно поместив термометр в воду - так как вопрос стояло температуре)...температура понизилась при "кипении". воды, а через несколько минут вода превратилась в ЛЁД.

Весьма занятный ликбез!

missioner | Post:192760 - Date: 27.07.09(07:18)
Всё вышеизложенное правильно. Я как помню предлагал всем подумать над разными вариантами.Но я никак не мог подумать что кто-то думает что только он самый вумный а остальные не знают про существование давления паров воды,компенсирующего отсутствие атмосферного. в посте 192745 если кто-то внимательно читает я вроде говорю:"....то создаётся разрежение то убирается..." Если кто-то читает это выражение как:"создаётся постоянное разрежение", то извините, это его личные проблемы. Но впрочем... это было лирическое отступление.
Думаю в дальнейшем посты будут посвящены тому,как можно преодолеть всякие возможные грабли а не только тому как разбить в пух и прах идею.Ферштейн?

_________________
Здесь хранится СЕ суперавтотрансгенератор https://www.skif.biz/index.php?name=Forums&file=viewtopic&p=875842#875842 https://disk.yandex.ru/d/T_H9tIHpXVb8dw Дополненная версия с видео: https://disk.yandex.ru/d/RUQMOtXIHzRo7Q


almaster | Post:192772 - Date: 27.07.09(08:46)
missioner Пост: 192760 От 27.Jul.2009 (08:18)
.Но я никак не мог подумать что кто-то думает что только он самый вумный а остальные не знают про существование давления паров воды,компенсирующего отсутствие атмосферного. в посте 192745 если кто-то внимательно читает я вроде говорю:"....то создаётся разрежение то убирается..."

Умники конечно сильно мешают в создании ВД когда просто неконструтивно умничают, чтобы покрасоваться.
А вот умные (и особенно мудрые)реально могут предупредить о граблях
за углом.
-Вычти из баланса затраты на "создание разрежения" при расчётах.
-Не забудь о том, что даже в вакууме вода будет "давить" на дне.
-И вопрос о "фигне" расходов на электролиз под давлением пока что открыт.

_________________
Не плывите по течению. Не плывите против течения. Плывите туда, куда вам нужно.


missioner | Post:192789 - Date: 27.07.09(11:18)
Но ещё в нашу пользу то что чем выше подымается пузырь в воде,тем больше в объёме он становится,от радости,наверное.Тяговитость повышается от этого.Правда если при зтом его температкра тоже соответественно будет понижаться то(паровой пузырь это не воздушный пузырь)...с определённого предела пузырь просто кавитирует(я правильно выразился?) Но к этому моменту поплавок можно наглухо задраить

_________________
Здесь хранится СЕ суперавтотрансгенератор https://www.skif.biz/index.php?name=Forums&file=viewtopic&p=875842#875842 https://disk.yandex.ru/d/T_H9tIHpXVb8dw Дополненная версия с видео: https://disk.yandex.ru/d/RUQMOtXIHzRo7Q


proggi | Post:192794 - Date: 27.07.09(12:07)
кавитирует(я правильно выразился?)
Может барботирует.

missioner | Post:193616 - Date: 01.08.09(18:37)
Ну всё раз более комментов нет подытожу и нарисую окончательный вариант реактора. Это не полностью заполненная водой большая сильно теплоизолированная ёмкость с установленными внутри неё транспортёром или ротором с поплавками из неё выходит трубка теплообменник по которой в неё поступает вода по пути нагреваемая выходящим паром,т.е. затраты на нагрев воды в уже запущенном реакторе минимальны Под колоколами или в поплавках транспортёра установлены кипятильники. Ротор или транспортёр вращают генератор,обеспечивая поддержание температуры кипения и нужды населения. Имеется система поддержания уровня жидкости. Да между зонами кипения и опускания жидкости имеется лёгкая перегородка
Всё,жду приглашения в Нобелевский комитет.....😶😶😶😏😏😕

_________________
Здесь хранится СЕ суперавтотрансгенератор https://www.skif.biz/index.php?name=Forums&file=viewtopic&p=875842#875842 https://disk.yandex.ru/d/T_H9tIHpXVb8dw Дополненная версия с видео: https://disk.yandex.ru/d/RUQMOtXIHzRo7Q


bazarov | Post:203047 - Date: 05.10.09(20:57)
Хочу варенья 😕 .....
1 Делаем коробку;
2 Помещаем туда колесо с колпачками;
3 Заливаем все солёной водой (рассолом, можно огуречным.... если не жалко);
4 Красим колпачки в чёрный цвет;
5 Делаем одну из стенок стекляной (прозрачной);
6 Выкачиваем воздух до кипения воды;
7 Делаем сильфон регулирования давления внутри камеры в зависимости от окр. темп.;
8 Едем на экватор и ставим прозрачным ребром к солнцу;
9 Сидим, лопаем варенье, радуемся жизни, наблюдаем "вечное" вращение.
10 Приезжают санитары......

/Порядок последовательности действий расставить самому (тест на Ай Ку-Ку)/

Варенье давай 😭 ! Жадина 😭 !!

_________________
Не хватит никакого здоровья, чтобы приспособиться к этому глубоко больному обществу(Кришна Мурти)/Горшки не Боги обжигают (многовековая классика)


rezoner | Post:203049 - Date: 05.10.09(21:13)
bazarov Пост: 203047 От 05.Oct.2009 (21:57)
Хочу варенья 😕 .....
1 Делаем коробку;
2 Помещаем туда колесо с колпачками;
3 Заливаем все солёной водой (рассолом, можно огуречным.... если не жалко);
4 Красим колпачки в чёрный цвет;
5 Делаем одну из стенок стекляной (прозрачной);
6 Выкачиваем воздух до кипения воды;
7 Делаем сильфон регулирования давления внутри камеры в зависимости от окр. темп.;
8 Едем на экватор и ставим прозрачным ребром к солнцу;
9 Сидим, лопаем варенье, радуемся жизни, наблюдаем "вечное" вращение.

А зачем санитары 😀 Всё рабочее.
Только не жадничай, назови КПД. В смысле, на 1м2солнечной энергии на экваторе будет 1,5квт. А сколько в колесе с колпачками ? 😘

bazarov | Post:203052 - Date: 05.10.09(21:17)
КПД будет только после передачи варенья из рук в руки 😝.


И без косточек 😭 !!!!!!

_________________
Не хватит никакого здоровья, чтобы приспособиться к этому глубоко больному обществу(Кришна Мурти)/Горшки не Боги обжигают (многовековая классика)


andy8mm | Post:203053 - Date: 05.10.09(21:23)
11. На экватор лень ехать, делаем проще, коробку меняем на трубу и вода хай бульботить при окр. темп.
Щаз стырю у маэстро рисунок

[ 1 | 2 ] [>
У Вас нет прав отвечать в этой теме.
Форум - Ветро- и гидро- и солнечные генераторы - Новые ветро и гидрогенераторы - Термоядрёная (е)лектростанция - Стр 1
🏠 Главная | 📚 Содержание | 💬 Форум | 📁 Файлы | 📩 Контакт