[ВХОД]
17.04.26(07:39)

skif.biz

Альтернативная энергия. Оставь надежду, всяк сюда входящий...

🏠 Главная | 📚 Содержание | 💬 Форум | 📁 Файлы | 📩 Контакт
 
Резонансные генераторы
Магнитные генераторы
Механические центробежные (вихревые) генераторы
Электростатические генераторы
Водородные генераторы
Ветро- и гидро- и солнечные генераторы
Прочие идеи (разные)
О форуме
Транспорт
Оружие
Научные идеи, теории, предположения...
Экономия топлива
Коммерческие вопросы
Струйные технологии
Торсионные генераторы
Новые технологии
Барахолка
Патентный отдел
Конструкторское бюро
Нейтронная физика
Торнадо и смерчи
Гравитация и антигравитация
Сделай сам. Советы.
Медицина и здравоохранение

📱 | 🖨️

Форум - Электростатические генераторы - Электростатика - Радиантная энергия (настоящее) - Стр:1
[ 1 | 2 | 3 | 4 | 5 | 6 | 7 | 8 | 9 ] [>
Модератор: Lisp
Lisp | Post:900976 - Date: 01.03.26(20:05)
Надоело читать шизиков из секты радиянта причём трущих посты, которые не согласуются с их бредом, а потому открываю эту тему!

Lisp | Post:900977 - Date: 01.03.26(20:06)
Ну, что же начнём с патентов Тесла, но которые ссылается секта святого радиянта!

Lisp | Post:900981 - Date: 01.03.26(20:26)
Один патент
No.685,957. Patented Nov. 5, I901. N. TESLA. APPARATUS FOR THE UTILIZATION OF RADIANT ENERGY.
Второй патент
No.685,958. Patented Nov. 5, I901. N. TESLA. METHOD 0F UTILIZING RADIANT ENERGY.

Теперь переводим на русский язык оба названия:
УСТРОЙСТВО ДЛЯ ИСПОЛЬЗОВАНИЯ ЭНЕРГИИ ИЗЛУЧЕНИЯ
СПОСОБ ИСПОЛЬЗОВАНИЯ ЭНЕРГИИ ИЗЛУЧЕНИЯ

Обана, и уже смысл совсем другой...без какого либо шулерства!!!😀😀😀


Lisp | Post:900986 - Date: 01.03.26(21:06)
А теперь разберем патенты по абзацам...
Начнем с 685957...второй абзац...
..."Хорошо известно, что некоторые виды лучей, например ультрафиолетовые, катодные, рентгеновские и подобные им , обладают свойством заряжать и разряжать проводники электричества, причем разряд особенно заметен, если проводник, на который падает излучение, заряжен негативно. Эти виды излучения обычно считаются либо колебаниями с крайне малой длиной волны, а в качестве объяснения отмеченных явлений некоторые ученые высказывали предположение, что такие лучи ионизируют или делают проводящей атмосферу, через которую они распространяются. Однако мои эксперименты и наблюдения привели к заключениям, более согласующимся с излагаемой далее теорией, что источники такого излучения с большой скоростью испускают мельчайшие частицы вещества, обладающие значительным зарядом и способные поэтому заряжать проводник электричества; или, даже если это не так, они в любом случае способны разряжать наэлектризованный проводник снятием его заряда или иным способом".

обана...оказывается не какая то "радиантная энергия", а конкретные излучения заряжают и разряжают проводники электричества...причём Тесла пишет, что это хорошо известно не только ему, но хорошо известно ещё и до его патентов...но у одних одна интерпретация процесса...у Тесла своя...ну оно то понятно...теории ещё нет...Столетов только только отработал со своим открытием...нет ещё трудов Планка, Эйнштейна и т.д...


Lisp | Post:900987 - Date: 01.03.26(21:12)
...следующий абзац...
..."Настоящая заявка основана на открытии, сделанном мной для случая, когда лучи или излучение описанного типа падает на изолированное проводящее тело , соединенное с одним из зажимов конденсатора, и, пока другой его зажим за счет независимых устройств принимает или уносит электричество, а изолированное тело подвергается воздействию лучей, в конденсатор поступает ток, и при условиях, излагаемых далее, в нем происходит неограниченное накопление энергии. После соответствующего промежутка времени, в течение которого действуют лучи, эта энергия может проявиться в форме мощного разряда, который можно использовать для управления механическими или электрическими устройствами или многими иными способами"...

...обана..."...для случая, когда лучи или излучение описанного типа падает на изолированное проводящее тело..."...а, что за лучи описанного типа???...да вот же абзацем выше -ультрафиолетовые, катодные, рентгеновские и подобные им...
...опять нет никакой загадочной радиантной энергии...просто известные лучи или излучения...да ещё изолированное тело подвергается воздействию этих лучей...😀😀😀

Lisp | Post:900989 - Date: 01.03.26(21:25)
...следующий абзац...
"Для применения моего изобретения необходим конденсатор, предпочтительно значительной емкости, один из зажимов которого я соединяю с изолированной металлической пластиной или другим проводящим телом, подвергающимся воздействию лучей или потоков излучающего вещества . Весьма важно, особенно ввиду того, что электроэнергия обычно поступает к конденсатору с очень малой скоростью, конструировать последний с максимальной тщательностью. В качестве диэлектрика предпочитаю использовать слюду наилучшего качества и принимаю все необходимые меры для изоляции обкладок, благодаря чему это устройство приобретает способность выдержать высокое напряжение без утечки энергии, а при быстром разряде не сохраняет сколько-нибудь заметного количества электричества. На практике я обнаружил, что наилучшие результаты обеспечиваются при работе конденсатора способом, описанным в патенте № 577671, выданном мне 23 февраля 1897 года. Очевидно, эти меры предосторожности следует соблюдать тем более тщательно, чем меньше скорость заряда и чем незначительнее время накопления энергии в конденсаторе. Поверхность изолированной пластины или проводящего тела, на которую воздействуют лучи или потоки вещества, должна быть максимальной: я установил, что количество энергии, передаваемое пластине за единицу времени, при прочих равных условиях пропорционально или почти пропорционально площади воздействия. Кроме того, эта поверхность должна быть чистой и — предпочтительно — тщательно отполированной или амальгамированной. Второй контакт или обкладка конденсатора может быть соединена с одним из полюсов батареи или другого источника энергии, или с любым проводящим телом, подающим к контакту электричество необходимого знака. Простой способ сообщать обкладке ток положительного или отрицательного знака — соединить ее или с изолированным проводником, поднятым в воздух на некоторую высоту, или с заземленным проводником: как известно, первый служит источником положительного, а второй — отрицательного заряда электричества. Поскольку лучи или предполагаемые потоки вещества, как правило, передают положительный заряд первому зажиму, соединенному с упомянутой пластиной или проводником, я обычно заземляю второй зажим конденсатора, что является обычным для получения электрического тока отрицательного знака, позволяющим обойтись без искусственного источника тока. Чтобы использовать для полезной цели энергию, накопленную в конденсаторе, я подключаю к его контактам цепь с устройством или аппаратом, который необходимо привести в действие, и еще одно устройство для попеременного замыкания и размыкания цепи. Последнее устройство может быть любым контроллером цепи со стационарными или подвижными элементами или электродами, которые можно приводить в действие накопленной энергией либо независимыми приспособлениями".
...обана...опять воздействие лучей, а не какого то радиянта!!! 😀😀😀

street | Post:900993 - Date: 02.03.26(01:23)
Antek Пост: 900947 От 01.03.2026 (12:46)
Балбес Пост: 900945 От 01.03.2026 (12:41)
Lisp Пост: 900944 От 01.03.2026 (12:02)
...качер это "качатель реактивностей"...был изобретён Бровиным, как элемент электромагнитного компаса...чаво вы тама генерирует...какой ...радиянт???😊😊😊

Тот самый, которому посвящена эта тема. Если основной признак радиантной энергии это наведение статики на окружающие проводники при похождении по проводу и это же наблюдается при прохождении "карчерных" импульсов по проводу, то что это, как ни радиантная энергия? 😏

Наконец то правильное наблюдение.Возьми индикатор фазы.Если будет гореть на всех деталях,проводах и даже на выводах батарейки с одинаковой интенсивностью,то это она-Радиантная энергия. Чем сильнее будет гореть-тем больше Радиантной энргии генерируется.

Я у тебя уже спрашивал, однажды...
Криптоновая лампа ярче аргоновой, а галогенная ярче криптоновой при одинаковом потреблении и на постоянном токе.
Радиант?


Вот и проверь на твоем количестве витков и на уменьшенном.где больше😨

Чего больше? Яркости лампочки?
😁

_________________
Главное в мелочах


street | Post:900994 - Date: 02.03.26(02:53)
Lisp Пост: 900948 От 01.03.2026 (12:50)
Балбес Пост: 900945 От 01.03.2026 (12:41)
Lisp Пост: 900944 От 01.03.2026 (12:02)
...качер это "качатель реактивностей"...был изобретён Бровиным, как элемент электромагнитного компаса...чаво вы тама генерирует...какой нах...радиянт???😊😊😊

Тот самый, которому посвящена эта тема. Если основной признак радиантной энергии это наведение статики на окружающие проводники при похождении по проводу и это же наблюдается при прохождении "карчерных" импульсов по проводу, то что это, как ни радиантная энергия? 😏

...radiant energy в переводе на русский язык это "энергия излучения"...потому, как radiant(радиант) это лучистый, излучающий, от сюда в русском языке радиация и т.д...

В том числе радиан и радиус...
Но потомственные кретины не способны понять правила словообразования в языке. Причём, не обязательно в русском языке.
Правила словообразования одинаковы для всех языков по той простой причине, что слова - это выражение мыслей в речи.


но фраза " радиантная энергия" звучит глупо...

Для свидетелей радианта, глупость - естесственное состояние.
Именно глупость, помноженная на стремление к "личностному росту", толкает, движет потомственными кретинами.
Надо же, как-то жить...



излучения которые использовал Тесла -это ультрафиолетовое, катодное и т.п...в понятие radiant входит весь спектр электромагнитного излучения...больше всего Тесла напирал на Солнце...от туда, как раз больше всего ультрафиолетового излучения...

Волновые преобразования, даже в рамках школьного учебника(дифракция, интерференция, отражение, переотражение, энергия волн...), не говоря уже об уравнениях Гука, работах Гельмгольца, Ньютона... "тёмный лес", который отпугивает свидетелей радианта, как дуст блох.
Страх, самый сильный инстинкт потомственых кретинов. Рефлексия губит разум, порождая банальное ебланство.


он предлагал металлическую пластину поднять, как можно выше...и обращал внимание, что конденсатор заряжается не мгновенно, а длительное время...такой вот процесс...сегодня это называется внешний фотоэффект...госпадя...да когда же вы уже прочтёте патенты Тесла???😊😊😊

Никогда.
Даже если прочтут - не способны понять.
Но способны самоутверждаться.
Я читал самого Тесла, который... (можно добавить все, что душе угодно) был гений и признан официозом посредством единицы в системе СИ.
Стало быть значим и весом.
Ну и пох, что сам свидетель радианта ничтожество, рядом с гением гораздо уютнее...

Все, дальше,... все, что угодно, ощущение причастности к гениальности, неимоверно раздувает ЧСВ, ебланство зашкаливает, "мой градус - сто"(с)

_________________
Главное в мелочах


street | Post:900995 - Date: 02.03.26(03:03)
Балбес Пост: 900949 От 01.03.2026 (12:52)
Вот завтра это сделаю и отпишу обычные замеры. А вот как замерить долю радиантной энергии в получаемом "ответе среды" - я не знаю.

Робкие проблески здравомыслия обнадеживают.
Осталось понять, что все твои опыты не выходят за рамки школьного учебника, который ты не способен, не смог понять.
Там все есть, но для тебя неочевидно.

_________________
Главное в мелочах


street | Post:900996 - Date: 02.03.26(03:17)
Lisp Пост: 900955 От 01.03.2026 (13:22)
Балбес Пост: 900950 От 01.03.2026 (13:00)

... для меня радиантная энергия это такая, которая при прохождении по проводу (не антенне) излучает перпендикулярно проводу энергию, которая оседает в виде электростатики на окружающих проводниках. 😏

...любой проводник под напряжением создет электромагнитное поле которое попадая в другой проводник индуцирует в нем напряжение...какая нах...энергия излучения проходит у тебя по проводнику???...энергия это работа, а не какая то субстанция...😊😊😊

Надо уточнить, Lisp...
Энергия - это мера работы, аналог зряплаты.

Для свидетелей радианта - энергия, это некая сущность, а не абстракция.
Некий "керосин", который есть в проводнике, они хотят извлекать этот керосин из металла проводника, свято веря в "керосин" эфира.
Придурки не понимают, что для совершения работы необходимо рабочее тело.
Без рабочего тела невозможно совершение работы, которую можно оценить количественно

_________________
Главное в мелочах


street | Post:900997 - Date: 02.03.26(03:29)
Tog Пост: 900961 От 01.03.2026 (14:46)
Lisp Пост: 900944 От 01.03.2026 (12:02)
...качер это "качатель реактивностей"...был изобретён Бровиным, как элемент электромагнитного компаса...чаво вы тама генерирует...какой нах...радиянт???😊😊😊

Надобно развернуть ответ.
В первую очередь это простой блокинг.
А чем отличается блокинг от качера?

А чем отличается аргоновая лампочка, от криптоновой или галогеновой?
Сможешь сформулировать?
Или тревожное расстройство не позволит?

_________________
Главное в мелочах


street | Post:900999 - Date: 02.03.26(03:41)
street Пост: 900998 От 02.03.2026 (00:39)
Балбес Пост: 900950 От 01.03.2026 (13:00)
Lisp Пост: 900948 От 01.03.2026 (12:50)
Балбес Пост: 900945 От 01.03.2026 (12:41)
Lisp Пост: 900944 От 01.03.2026 (12:02)
...качер это "качатель реактивностей"...был изобретён Бровиным, как элемент электромагнитного компаса...чаво вы тама генерирует...какой нах...радиянт???😊😊😊

Тот самый, которому посвящена эта тема. Если основной признак радиантной энергии это наведение статики на окружающие проводники при похождении по проводу и это же наблюдается при прохождении "карчерных" импульсов по проводу, то что это, как ни радиантная энергия? 😏

...radiant energy в переводе на русский язык это "энергия излучения"...потому, как radiant(радиант) это лучистый, излучающий, от сюда в русском языке радиация и т.д...но фраза " радиантная энергия" звучит глупо.

ОЙ! Извините покорно за то, что я не соблюдаю правила Вашей секты и поэтому для меня радиантная энергия это такая, которая при прохождении по проводу (не антенне) излучает перпендикулярно проводу энергию, которая оседает в виде электростатики на окружающих проводниках. 😏

Для тебя энергия - это сущность.
Это твоя фатальная ошибка.
Энергия - это мера, абстрактное понятие, аналог твоей зряплаты, но тебе это очень трудно понять, потому, что ты пенсионер.
Конченый ублюдок.

_________________
Главное в мелочах


Lisp | Post:901001 - Date: 02.03.26(12:14)
...теперь можно перейти к графической части...


Размер: 87.20 KB

Lisp | Post:901002 - Date: 02.03.26(12:19)
...заметим, что к патенту нет модели, т.е. одна теория или догадка с интуицией!😊

Lisp | Post:901003 - Date: 02.03.26(12:29)
...ещё несколько абзацев...
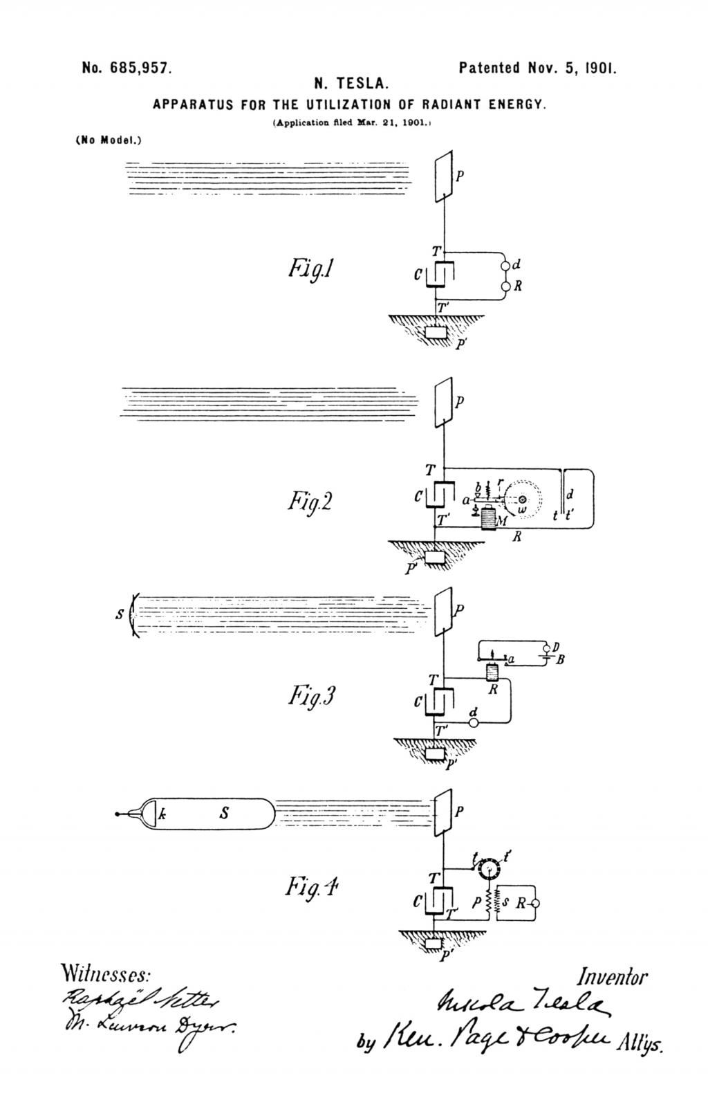
..."Мое изобретение можно понять более полно из следующего описания и прилагаемых чертежей, где рисунок 1 — схема обычной компоновки аппарата, рисунок 2 — схожая схема, более подробно иллюстрирующая разновидности используемых устройств или элементов, рисунки 3 и 4 — схемы модифицированных устройств, пригодных для конкретных целей.
Обратимся к рисунку 1 - наиболее простой схеме расположения и контактам нескольких элементов аппарата, где С — конденсатор, Р — изолированная пластина или проводящее тело, подвергающееся воздействию лучей, а Р' — другая пластина или заземленный проводник, причем все перечисленные устройства соединены последовательно, как изображено. Контакты ТТ' конденсатора также соединены с цепью, включающей приводимое в действие устройство Я и устройство ё для коммутации цепи описанного типа.
Схема аппарата демонстрирует: когда лучи солнца или любого другого устройства, способного вызывать вышеописанные эффекты, падают на пластину Р, в конденсаторе С происходит накопление электроэнергии. Это явление, по моему мнению, наиболее удовлетворительно можно объяснить следующим образом. Солнце, подобно другим источникам излучения, испускает мельчайшие частицы положительно заряженного вещества, которые, сталкиваясь с пластиной Р, непрерывно передают ей электрический заряд. Противоположный контакт конденсатора заземлен, а землю можно считать обширным резервуаром электричества отрицательного знака, так что в конденсатор постоянно поступает слабый электрический ток, а поскольку эти предполагаемые частицы имеют крайне малый радиус кривизны, следовательно, заряжены до довольно высокого потенциала, этот заряд конденсатора, по моим наблюдениям, может продолжаться практически бесконечно — вплоть до пробоя диэлектрика. Если устройство ё по достижении потенциалом конденсатора определенной величины замыкает цепь, в которую оно включено, то накопленный заряд будет проходить через цепь с приемником Я, приводя его в действие".

...обана...-когда лучи Солнца...т.е...всё таки лучи, причём конкретные, а никакой тама сраный "радиянт"!😀😀😀


MSN | Post:901004 - Date: 02.03.26(12:34)
Патенты Н.Тесла на русском
Спасибо тем, кто это перевел и написал и издал, а также тем, кто выложил. Качаем пока висит бесплатно (109мБ).

_________________
Говорите говорите, я всегда зеваю когда мне интересно. 99,9% всех СЕ устройств, - от неправильных измерений


Lisp | Post:901006 - Date: 02.03.26(13:00)
...кстати, если рассматривать изобретения Тесла по серьёзному, то надо понимать, что учёные и изобретатели того времени находились только в начале пути...не было ещё теорий, формул и пр....часто они использовали метод тыка и метод проб и ошибок...а потому толкование того или иного эффекта у них частенько были ошибочные, что есть и в двух патентах Тесла по энергии излучения...позднее в 20-х...30-х годах 20 века появились теории и пр...и эти эффекты получили правильное толкование ...и стала понятна их природа...и ещё...не стоит подходить к изобретениям Тесла с диодами, микросхемами, тиристорами, динистрами и т.д...тогда у Тесла этого не было...он работал...с индуктивностями, трансформаторами, ёмкостями, разрядниками и пр...самым простым...и полный тупизм читать Тесла с позиции сегодняшней элементной базы!!!...😊😊

Lisp | Post:901020 - Date: 02.03.26(15:33)
Балбес Пост: 901016 От 02.03.2026 (11:38)
Lisp Пост: 901013 От 02.03.2026 (11:16)
...у тебя радиантная энергия это что???😀😀😀

У меня энергия качерных импульсов. Она похожа на радиантную в исполнении Бедини. Именно поэтому я и назвал её радиантной. Я достаточно ясно объяснил для Вашего понимания? 😏


...да, уж...😊😊😊

Lisp | Post:901021 - Date: 02.03.26(15:35)
street Пост: 900996 От 02.03.2026 (00:17)


Для свидетелей радианта - энергия, это некая сущность, а не абстракция.
Некий "керосин", который есть в проводнике, они хотят извлекать этот керосин из металла проводника, свято веря в "керосин" эфира.
Придурки не понимают, что для совершения работы необходимо рабочее тело.
Без рабочего тела невозможно совершение работы, которую можно оценить количественно

...ты в точку -керосин...😊😊😊

street | Post:901031 - Date: 02.03.26(18:57)
Балбес Пост: 900937 От 01.03.2026 (10:29)
Я делал опыт: заряжал от БП кондёр до 4 вольт и закоротил контакты - получил обычную искру, затем через вилку Авраменко зарядил то же кондёр до 4 вольт качерными импульсами и закоротив контакты получил "бенгальские искры". Вывод: если 4 вольт обычной энергии достаточно для образования банального разряда, то 4 вольт "качерной" энергии хватает на организации разряда, местного расплава металла и разбрызгивания оного. Откуда получена прибавка энергии?

Из увеличившейся емкости и изменившегося внутреннего сопротивления этой емкости конденсатора.


Балбес Пост: 900938 От 01.03.2026 (10:34)

Приписывать свои выдумки оппоненту это не новый прием, но он ведет только к флейму.

Я прекрасно понимаю, что "прибавку" я получают за счет "реакции среды" на коллекторной катушке. А понимаете ли это Вы, если советуете уменьшить количество витков коллекторной катушки?

Сам придумал или слямзил, где-то?
А они так же понимают, как и ты.
Плотность напряжения, электричество без тока, однопроводная бэтэхгэ...
Используют в своей речи слова, смысла которых не разумеют.

_________________
Главное в мелочах


street | Post:901044 - Date: 03.03.26(00:03)
Балбес Пост: 900949 От 01.03.2026 (12:52)
. А вот как замерить долю радиантной энергии в получаемом "ответе среды" - я не знаю.

Вона, че...
Про ответ среды и бенгальский радиант нафантазировать смог, а выстроить алгоритм для проверки своих домыслов и корректных замеров этой самой бенгальско-радиантной энергии, никак?

Ну,... хорошо хоть признаешь, что не знаешь.
Антики и танчеги яркостью светильника пользуются и им этого хватает.
Главное не сомневаться в своих убеждениях, даже если они откровенный бред, навроде плотности напряжения.

Есть такая штука П2К, это переключатель на несколько пар контактов. Тебе подойдёт на четыре пары. Вот через такой П2К подключаешь два одинаковых конденсатора так, чтобы переключатель менял их местами в схеме.
Один вместо батарейки, а второй на зарядку импульсами. Высокоомным вольтметром смотришь напр на питающем конденсаторе и , как только снизится до минимально необходимого для работы схемы, жмёшь переключатель и на питании окажется заряженный качерными импульсами, а разряженный окажется на дозарядке.

Если , как ты утверждаешь, твой качер заряжает с прибавкой, то твоя экспериментальная установка будет работать так долго, пока ты клацаешь П2К.
Если никакой прибавки нет, то кондеры разрядятся и твой качер заглохнет.

_________________
Главное в мелочах


Lisp | Post:901053 - Date: 03.03.26(10:25)
...вернемся к fig.1 из патента...


Размер: 47.38 KB

Lisp | Post:901054 - Date: 03.03.26(11:36)
..."Для применения моего изобретения необходим конденсатор, предпочтительно значительной емкости, один из зажимов которого я соединяю с изолированной металлической пластиной или другим проводящим телом, подвергающимся воздействию лучей или потоков излучающего вещества. Весьма важно, особенно ввиду того, что электроэнергия обычно поступает к конденсатору с очень малой скоростью, конструировать последний с максимальной тщательностью"...
...всё таки электроэнергия, а не радиянтный керосин!...😀😀😀😀

Lisp | Post:901055 - Date: 03.03.26(11:45)
...вообще то опыты по патенту Тесла проводились и проводятся...но не получили результат, как в патенте...в патенте Тесла пишет, что "происходит неограниченное накопление энергии"...а на деле 3-10В...но опыты проводились с весьма небольшой приёмной пластиной не более 1м2...но у Тесла есть рекомендация...
-"Поверхность изолированной пластины или проводящего тела, на которую воздействуют лучи или потоки вещества, должна быть максимальной: я установил, что количество энергии, передаваемое пластине за единицу времени, при прочих равных условиях пропорционально или почти пропорционально площади воздействия"...
...т.е...чем больше площадь поверхности пластины, тем большее накопление энергии...10м2...100м2...и уже будет ощутимый результат!!!

Lisp | Post:901063 - Date: 03.03.26(13:08)
...ну и далее...
...". Второй контакт или обкладка конденсатора может быть соединена с одним из полюсов батареи или другого источника энергии, или с любым проводящим телом, подающим к контакту электричество необходимого знака. Простой способ сообщать обкладке ток положительного или отрицательного знака — соединить ее или с изолированным проводником, поднятым в воздух на некоторую высоту, или с заземленным проводником: как известно, первый служит источником положительного, а второй — отрицательного заряда электричества. Поскольку лучи или предполагаемые потоки вещества, как правило, передают положительный заряд первому зажиму, соединенному с упомянутой пластиной или проводником, я обычно заземляю второй зажим конденсатора, что является обычным для получения электрического тока отрицательного знака, позволяющим обойтись без искусственного источника тока. Чтобы использовать для полезной цели энергию, накопленную в конденсаторе, я подключаю к его контактам цепь с устройством или аппаратом, который необходимо привести в действие, и еще одно устройство для попеременного замыкания и размыкания цепи. Последнее устройство может быть любым контроллером цепи со стационарными или подвижными элементами или электродами, которые можно приводить в действие накопленной энергией либо независимыми приспособлениями..."
...да, что же такое опять ни слова про радиянтный керосин...только электричество, электрический ток...!!!...😀😀😀
...ну, а дальше Тесла пишет, что к устройству изображенному на Fig.1 оно основное...можно подключить разнообразные устройства...примеры он даёт на следующих Fig...s...

[ 1 | 2 | 3 | 4 | 5 | 6 | 7 | 8 | 9 ] [>
У Вас нет прав отвечать в этой теме.
Форум - Электростатические генераторы - Электростатика - Радиантная энергия (настоящее) - Стр 1
🏠 Главная | 📚 Содержание | 💬 Форум | 📁 Файлы | 📩 Контакт