[ВХОД]
14.04.26(02:52)

skif.biz

Альтернативная энергия. Оставь надежду, всяк сюда входящий...

🏠 Главная | 📚 Содержание | 💬 Форум | 📁 Файлы | 📩 Контакт
 
Резонансные генераторы
Магнитные генераторы
Механические центробежные (вихревые) генераторы
Электростатические генераторы
Водородные генераторы
Ветро- и гидро- и солнечные генераторы
Прочие идеи (разные)
О форуме
Транспорт
Оружие
Научные идеи, теории, предположения...
Экономия топлива
Коммерческие вопросы
Струйные технологии
Торсионные генераторы
Новые технологии
Барахолка
Патентный отдел
Конструкторское бюро
Нейтронная физика
Торнадо и смерчи
Гравитация и антигравитация
Сделай сам. Советы.
Медицина и здравоохранение

📱 | 🖨️

Форум - Электростатические генераторы - Электростатика - Бифилярная катушка Никола Тесла (valeralap) - Стр:466
<] [ 1 | ... 456 | 457 | 458 | 459 | 460 | 461 | 462 | 463 | 464 | 465 | 466 | 467 | 468 | 469 | 470 | 471 | 472 | 473 | 474 | 475 | 476 | ... | 482 ] [>
Модератор: valeralap
Первый пост темы: valeralap Post: #626158 От:08.06.2019 (08:37)
Различного рода абстрактные не связанные с темой выступления, будут удалятся. Все конструктивное будет приветствоваться. Можно оказывать помощь в виде оформления или правки, если сочтете за необходимость. Если активность будет низкая, то-от этого будет зависеть скорость вашего продвижения.
Antek | Post:902487 - Date: 05.04.26(19:17)
Мой личный работает на другом принципе-использования катушки теслы,в режиме увеничения не напряжения а тока.Вот такого типа точно выпускались некоторое время.И варили ими самые ответственные швы- например в газопроводах.Для народа выпускался сварлчник Электрон а для промышленности типа ВДУ.

_________________
А вы друзья как не садитесь-все в музыканты не годитесь.


Lisp | Post:902488 - Date: 05.04.26(19:18)
Antek Пост:902487 От 05.04.2026 (16:17)
Мой личный работает на другом принципе-использование катушки теслы,втрежиме увеничения не напряжения а тока.Вот такого типа точно выпускались некоторое время.И варили ими самые ответственные швы- например в газопроводах.

...какой накуй Тесла...😀😀😀

Antek | Post:902489 - Date: 05.04.26(19:22)
Тот самый.😛,который Никола.😀
А что ты думал катушкой тесла можно только искры пускать?😀

_________________
А вы друзья как не садитесь-все в музыканты не годитесь.


Lisp | Post:902490 - Date: 05.04.26(19:25)
Antek Пост:902489 От 05.04.2026 (16:22)
Тот самый.😛,который Никола.😀
А что ты думал катушкой тесла можно только искры пускать?😀

...дрочить на имя Тесла не устал???😀😀😀

zimnyaya | Post:902491 - Date: 05.04.26(19:25)
Lisp Пост:902486 От 05.04.2026 (16:15)
zimnyaya Пост:902485 От 05.04.2026 (16:13)
Lisp Пост:902482 От 05.04.2026 (15:37)
пара фирм выпускала такие сварочники...счётчики мотали только успевай плати...там оно на хх 3-4 кВт...один электрод спалишь...сварочник отдыхает...а то перегрев...никакого волшебства...такой сварочник даже не вчерашнего дня...а поза-поза-поза вчерашнего...😀😀😀

Да хоть на 10 кВт...не может магнитопровод такого сечения обеспечить передачу энергии для качественной сварки электродом 4мм...законы физики не позволяют.
С перегревом, с недогревом, с резонансом с преферансом....ну не работает оно с такими габаритами на 50 герцах.
Физика это не церковь, всем кому интересно - могут самостоятельно посчитать.

...тебе дать ссылку на патенты Будённого, где он сам лично всё объясняет...или это бестолку...???...будешь свой бред отстаивать...???😀😀😀

Лисп, бред это у тебя, если ты ещё не понял.
А если не понял, возьми да посчитай.
Или ты из этих...из лириков?
Литературоведов всмысле.

_________________
Желудь-теоретик знает, как вырасти в дуб (c) Кнышев


Lisp | Post:902492 - Date: 05.04.26(19:27)
...что то же трудно почитать патент Будённого...???...какая то проблема???...или ты не согласна с Будённым???
..РФ 2198078 — «Устройство для электродуговой сварки (варианты) и способ изготовления его магнитопровода», опубликован 10 февраля 2003 года. Изобретение может применяться в сварочных аппаратах для получения переменного тока с падающей вольтамперной характеристикой....

Lisp | Post:902493 - Date: 05.04.26(19:36)
...правильно сказал Марк Твен..."проще одурачить человека, чем доказать ему, что он одурачен"...вместо того, чтобы читать авторов...читаете и смотрите всевозможную чернуху и в неё верите...😀😀😀

Lisp | Post:902494 - Date: 05.04.26(19:36)
...правильно сказал Марк Твен..."проще одурачить человека, чем доказать ему, что он одурачен"...вместо того, чтобы читать авторов...читаете и смотрите всевозможную чернуху и в неё верите...😀😀😀

zimnyaya | Post:902495 - Date: 05.04.26(19:41)
Lisp Пост:902492 От 05.04.2026 (16:27)
...что то же трудно почитать патент Будённого...???...какая то проблема???...или ты не согласна с Будённым???

Я согласна только с прикладной наукой и её выводами, а мнения, в том числе изобретателей чего либо, меня интересуют уже сильно потом.
Если ты поклоняешься каким то там авторитетам, то ты еще не вышел из церкви.
Сомневаюсь даже, что ты пытался это сделать, так как для этого необходимо наработать практический опыт, иначе не получится иметь какие то свои суждения, подкреплённые этим опытом.
Это не критика, если что.

_________________
Желудь-теоретик знает, как вырасти в дуб (c) Кнышев


Lisp | Post:902496 - Date: 05.04.26(19:46)
zimnyaya Пост:902495 От 05.04.2026 (16:41)
Lisp Пост:902492 От 05.04.2026 (16:27)
...что то же трудно почитать патент Будённого...???...какая то проблема???...или ты не согласна с Будённым???

Я согласна только с прикладной наукой и её выводами, а мнения, в том числе изобретателей чего либо, меня интересуют уже сильно потом.
Если ты поклоняешься каким то там авторитетам, то ты еще не вышел из церкви.
Сомневаюсь даже, что ты пытался это сделать, так как для этого необходимо наработать практический опыт, иначе не получится иметь какие то свои суждения, подкреплённые этим опытом.
Это не критика, если что.

...вот патент Будённого...я понимаю...тебе в падлу читать...долго, нудно и не понятно...но попробуй...может получится...😀😀😀...а какие то твои авторитеты накуй...
[ссылка]

zimnyaya | Post:902497 - Date: 05.04.26(20:06)
Lisp Пост:902496 От 05.04.2026 (16:46)
zimnyaya Пост:902495 От 05.04.2026 (16:41)
Lisp Пост:902492 От 05.04.2026 (16:27)
...что то же трудно почитать патент Будённого...???...какая то проблема???...или ты не согласна с Будённым???

Я согласна только с прикладной наукой и её выводами, а мнения, в том числе изобретателей чего либо, меня интересуют уже сильно потом.
Если ты поклоняешься каким то там авторитетам, то ты еще не вышел из церкви.
Сомневаюсь даже, что ты пытался это сделать, так как для этого необходимо наработать практический опыт, иначе не получится иметь какие то свои суждения, подкреплённые этим опытом.
Это не критика, если что.

...вот патент Будённого...я понимаю...тебе в падлу читать...долго, нудно и не понятно...но попробуй...может получится...😀😀😀...а какие то твои авторитеты накуй...
[ссылка]

У меня авторитетов нет, Лисп.
Речь именно о твоих авторитетах, хотя правильнее было бы называть их священниками.
Я понимаю, что ты не владеешь ни матаппаратом и даже не можешь воспользоваться никакой CAD системой для расчета.
То есть, у тебя нет абсолютно никаких инструментов для верификации информации, в которую ты когда то уверовал, либо которую продолжаешь выкапывать и поклоняться ей прямо сейчас.
Именно поэтому ты игнорируешь вышеизложенные факты про сердечник трансформатора и продолжаешь нести околесицу, которую твои авторитеты в виде Буденого тебе нашептали.

Ну а если ты игнорируешь настолько базовые вещи про сердечник, то говорить дальше не о чем.
Кушай лапшу про свои встающие и падающие характеристики...

_________________
Желудь-теоретик знает, как вырасти в дуб (c) Кнышев


Tog | Post:902498 - Date: 05.04.26(20:06)
Лисп ты задолбал уже со своими патентами, ты их рекламируешь?
Такое чувство , что когда ты их читаешь возникает ассоциация : смотрю в книгу , вижу фигу.

_________________
Фак-ты


Lisp | Post:902499 - Date: 05.04.26(20:08)
...зимняя ты долго будешь отстаивать свою тупость???...для меня в сварочнике Будённого...авторитет сам Будённый и его патенты...а у тебя кто авторитет в сварочнике Будённого???...я так понял, что не Будённый...😀😀😀
...матаппарат...CAD...и пр...поначитаются умных фраз...шо писец...

Lisp | Post:902500 - Date: 05.04.26(20:08)
Tog Пост:902498 От 05.04.2026 (17:06)
Лисп ты задолбал уже со своими патентами, ты их рекламируешь?
Такое чувство , что когда ты их читаешь возникает ассоциация : смотрю в книгу , вижу фигу.

...ты чо дурачок???

Tog | Post:902501 - Date: 05.04.26(20:10)
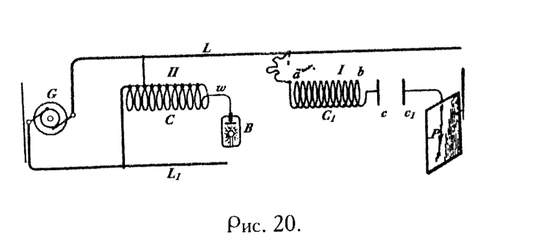
Никто биф еще не повторил, никто. Это патент! Защита стоит от случайного чтеца.
Думаете проводками он мотается? Нет. Плин.
На картинке биф.


Размер: 66.44 KB

_________________
Фак-ты


zimnyaya | Post:902502 - Date: 05.04.26(20:12)
Lisp Пост:902499 От 05.04.2026 (17:08)
...ты будешь отстаивать свою тупость???...для меня в сварочнике Будённого...авторитет сам Будённый и его патенты...а у тебя кто авторитет в сварочнике Будённого???...я так понял, что не Будённый...😀😀😀

Я думаю, что не зря valeralap послал тебя в своё время лесом, ибо ты не способен понять то, что тебе собеседник пишет.
Если чего то не понял, будь добр перечитай еще раз на что тебе уже отвечали, а не строчи скорей быстрей очередную белиберду...

_________________
Желудь-теоретик знает, как вырасти в дуб (c) Кнышев


Tog | Post:902503 - Date: 05.04.26(20:14)
Лисп ты такую чушь несешь мама не горюй.
Ты даже не понимаешь о чем говоришь.
В сварочнике два бифа.

_________________
Фак-ты


street | Post:902504 - Date: 05.04.26(20:15)
zimnyaya Пост:902497 От 05.04.2026 (17:06)
.
Именно поэтому ты игнорируешь вышеизложенные факты про сердечник трансформатора и продолжаешь нести околесицу, которую твои авторитеты в виде Буденого тебе нашептали.

Ну а если ты игнорируешь настолько базовые вещи про сердечник, то говорить дальше не о чем.
Кушай лапшу про свои встающие и падающие характеристики...

Конкретики бы. О чем ты?
Базовая вещь в любом трансформаторе - закон индукции и про сердечник в том законе нет ни слова.

_________________
Главное в мелочах


Lisp | Post:902505 - Date: 05.04.26(20:16)
zimnyaya Пост:902502 От 05.04.2026 (17:12)
Lisp Пост:902499 От 05.04.2026 (17:08)
...ты будешь отстаивать свою тупость???...для меня в сварочнике Будённого...авторитет сам Будённый и его патенты...а у тебя кто авторитет в сварочнике Будённого???...я так понял, что не Будённый...😀😀😀

Я думаю, что не зря valeralap послал тебя в своё время лесом, ибо ты не способен понять то, что тебе собеседник пишет.
Если чего то не понял, будь добр перечитай еще раз на что тебе уже отвечали, а не строчи скорей быстрей очередную белиберду...

...ты лучше напиши, что тебя не устраивает в патенте Буденного...оно ты давно поняла свою глупость...но бля....женщина!!!...😀😀😀

Lisp | Post:902506 - Date: 05.04.26(20:17)
Tog Пост:902503 От 05.04.2026 (17:14)
Лисп ты такую чушь несешь мама не горюй.
Ты даже не понимаешь о чем говоришь.
В сварочнике два бифа.

...да ну нах...сто...ты обсчитался...😀😀😀

Tog | Post:902508 - Date: 05.04.26(20:22)
Лисп , ах извините пожалуйста, верно ведь , обсчитался, простите

Не соблаговолите пройти в вашу тему...

И там уж я тебе подсчитаю по самое не хочу, не зли меня лучше.
Опять ведь навставляю😁

_________________
Фак-ты


Lisp | Post:902509 - Date: 05.04.26(20:24)
Tog Пост:902508 От 05.04.2026 (17:22)
Лисп , ах извините пожалуйста, верно ведь , обсчитался, простите

Не соблаговолите пройти в вашу тему...

И там уж я тебе подсчитаю по самое не хочу, не зли меня лучше.
Опять ведь навставляю😁

...я не знаю чаво тама в вашей секте биф...но в электротехнике есть четыре типа бифилярной обмотки...подучись немного...может ещё не поздно...😀😀😀
...не позорься...😀😀😀

sbal | Post:902512 - Date: 05.04.26(20:45)
Lisp Пост:902509 От 05.04.2026 (17:24)
в электротехнике есть четыре типа бифилярной обмотки...
От свистун так свистун, старый, да.
Ты б хоть прокашливался время от времени.

_________________
в пути...


Lisp | Post:902513 - Date: 05.04.26(20:48)
sbal Пост:902512 От 05.04.2026 (17:45)
Lisp Пост:902509 От 05.04.2026 (17:24)
в электротехнике есть четыре типа бифилярной обмотки...
От свистун так свистун, старый, да.
Ты б хоть прокашливался время от времени.

...шо у тебя своя укропская электротехника???...русским учебникам не доверяешь???😀😀😀

sbal | Post:902514 - Date: 05.04.26(20:53)
Вот жеж пердун старый.., со своими хазарскими замашками..,
бифиляр от природы - один.
Запомни, или лучше запиши.
Срамота-а-а...😝

_________________
в пути...


<] [ 1 | ... 456 | 457 | 458 | 459 | 460 | 461 | 462 | 463 | 464 | 465 | 466 | 467 | 468 | 469 | 470 | 471 | 472 | 473 | 474 | 475 | 476 | ... | 482 ] [>
У Вас нет прав отвечать в этой теме.
Форум - Электростатические генераторы - Электростатика - Бифилярная катушка Никола Тесла (valeralap) - Стр 466
🏠 Главная | 📚 Содержание | 💬 Форум | 📁 Файлы | 📩 Контакт