[ВХОД]
29.04.26(06:46)

skif.biz

Альтернативная энергия. Оставь надежду, всяк сюда входящий...

🏠 Главная | 📚 Содержание | 💬 Форум | 📁 Файлы | 📩 Контакт
 
Резонансные генераторы
Магнитные генераторы
Механические центробежные (вихревые) генераторы
Электростатические генераторы
Водородные генераторы
Ветро- и гидро- и солнечные генераторы
Прочие идеи (разные)
О форуме
Транспорт
Оружие
Научные идеи, теории, предположения...
Экономия топлива
Коммерческие вопросы
Струйные технологии
Торсионные генераторы
Новые технологии
Барахолка
Патентный отдел
Конструкторское бюро
Нейтронная физика
Торнадо и смерчи
Гравитация и антигравитация
Сделай сам. Советы.
Медицина и здравоохранение

📱 | 🖨️

Форум - Водородные генераторы - Ячейка Мейера - Как разделить кислород и водород - Стр:1
[ 1 | 2 ] [>
Модератор: Vladimir1
Vladimir1 | Post:9564 - Date: 05.09.05(15:46)
Народ поделитись мыслями как быстро и недорого разделять кислород и водород. Прочесал сеть на этот вопрос нашел только что в промышленности газовую смесь после электролизера через различные фильтры пропускают где кислород химически с чемто реагирует, а водород свободно проходит дальше.
Этот метод стар как мир и сами понимаете несколько неудобен.

Если и получится ячейку Маера сделать неким чудным образом тогда встанет проблема с гремучим газом который в результате ее работы получается, так что предлагаю подумать над этим вопросом.

eugene_d | Post:9654 - Date: 10.09.05(12:19)
Посмотри тут:
[ссылка]

Vladimir | Post:9656 - Date: 10.09.05(19:57)
Народ поделитись мыслями как быстро и недорого разделять кислород и водород. Прочесал сеть на этот вопрос нашел только что в промышленности газовую смесь после электролизера через различные фильтры пропускают где кислород химически с чемто реагирует, а водород свободно проходит дальше.
Этот метод стар как мир и сами понимаете несколько неудобен.

Если и получится ячейку Маера сделать неким чудным образом тогда встанет проблема с гремучим газом который в результате ее работы получается, так что предлагаю подумать над этим вопросом.

Если и получится.....
НУ, ты сначала получи результат, а потом и думай, что с этим "гремучим газом " делать а то и сам сгоришь раньше времени!:)
"Что-бы сделать яичницу нужно разбить яйца!"

Vladimir1 | Post:9686 - Date: 13.09.05(10:54)
Наудин воду не разлагает, там какойто газ горючий образуется в процесе реакции.

2 Vladimir Всему свое время 8)

NNN | Post:10154 - Date: 03.10.05(10:13)
Прошлая ссылка не работает. Даю рабочую.
Это интересные исследования и эксперименты по очень малозатратному разложению воды.
http://www.skif.biz/index.php?name=Files&op=view_file&lid=210

Admin.skif.biz Я файл сюда перенес

_________________
Nикогда Nе говори Nет


Vladimir1 | Post:10580 - Date: 13.10.05(10:08)
Как вариант можнор так разделять...
[ссылка]

Производство водорода на основе технологий холодного синтеза
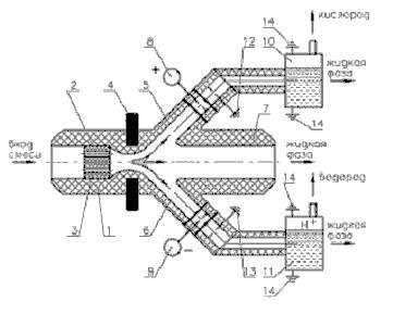
Исследования по производству водорода проводились в Институте химической физики АН СССР, итогом которых было научное открытие №366, (авторы В.Л. Тальрозе и Е.П. Франкевич). Открытием было установлено, что диссоциация молекул воды, как правило, гасится колебательной релаксацией при ионно-молекулярных столкновениях и других процессах. Вследствие этого явления во-дород выделяется в очень незначительных количествах. Как показано выше, термоэмиссионная установка ХЯС для получения электролитического водорода и кислорода реализована Филимоненко И.С. в НПО «»Луч» в 1990 г.
Предложенное Колдамасовым А.И. с сотрудниками устройство для получения водорода содержит корпус 1, выполненный из диэлектрического материала, стойкого к кавитационной эмиссии тепловым воздействиям, например, из кера-мики или сапфира с установленной в нем вставкой 2, изготовленной из диэлек-трического материала, например, асбоцемента или фторопласта, склонного к ка-витационной эмиссии и выполненными в ней одним или несколькими отвер-стиями 3, представляющими собой цилиндрические каналы длиной 25-30 мм и диаметром 1-2 мм. На корпусе 1 установлены, по меньшей мере, два магнита 4, которые могут быть постоянными или индуктивными. За магнитами 4 для при-нятия потоков сформированы патрубки 5, 6 и 7, причем патрубки 5 и 6 электри-чески изолированы друг от друга. При этом патрубки 5 и 6 несут ионизирован-ные потоки отрицательного потенциала и положительного соответственно, а патрубок 7 несет нейтральный поток. За патрубком 5 корпуса 1 установлен управляющий электрод 8, а за патрубком 6 корпуса 1 – управляющий электрод 9. Для приведения ионизированных потоков в стабильное состояние установлены коллиматоры 10 и 11. По пути следования потоков за управляющими электрода-ми 8 и 9 установлены контакторы 12 и 13 соответственно, обеспечивающие за-земление ионизированных потоков. Коллиматоры 10 и 11 заземлены с помощью контакторов 14.
Устройство работает следующим образом: в корпус 1 на вставку 2 подается по-ток диэлектрической жидкости – смесь «легкой воды» и «тяжелой воды». При истечении смеси через отверстия 3 с частотой пульсации потока, примерно рав-ной собственной частоте пульсации отверстия 3 возникают мощные резонанс-ные колебания потока смеси. Возникает кавитация на входе в отверстия 3 и со-провождающая её кавитационная эмиссия.
Технологические показатели режима:
Давление 5-7 Мпа; Частота пульсации потока –около 1 Гц; Удельное электриче-ское сопротивление смеси лёгкой и тяжёлой воды –не менее 1011 Ом м;
Устройство изготовлено и опробовано, общая наработка устройства –около 100 часов.


Размер: 15.69 KB

Vladimir1 | Post:10583 - Date: 13.10.05(10:16)
можно гремучку мебранами разделять
[ссылка]

Еще можно через стружку пропускать гремучку из титана и некоторых других металов и их различных соеденений, при этом метал может на еденицу своего объема пропитатся водородом настолько что удельная плотность Н2 на еденицу объема будет больше чем его полотность в твердом состоянии.

Можно еще тут почитать
[ссылка]

Vladimir1 | Post:10585 - Date: 13.10.05(10:33)
Прошлая ссылка не работает. Даю рабочую.
Это интересные исследования и эксперименты по очень малозатратному разложению воды.
http://www.skif.biz/index.php?name=Files&op=view_file&lid=210

Admin.skif.biz Я файл сюда перенес


На этуже тему...
[ссылка]
сайт

[ссылка]

Ответ от Канарева на мое письмо от 10 Янв 2005

Уважаемый Владимир!
Мы имеем запатентованные лабораторные модели генераторов тепла и газов. Если бы я имел промышленные образцы, то меня бы уже давно не было в живых.
Наш университет продаёт лицензии на патенты указанных генераторов. Во всей этой сложной процедуре я отвечаю только за воспризведение в лабораторных условиях показателей, указанных генераторов, объявленных в патентах. От всех других обязанностей я категорически отказываюсь. Было уже несколько предложений. Одна американская фирма в договоре о намерениях, который подписан в конце прошлого года, потребовала от университета отказа вести с кем-либо переговоры на эту тему, пока она не закупит лицензии на все патенты. Срок действия договора до 1 апреля этого года.

Всего Вам доброго.

К.Ф.М. kanphil@mail.kuban.ru

mikle10 | Post:10824 - Date: 16.10.05(08:38)
Все что пишет Канарев интересно но здесь описан повтор его эксперемента.
[ссылка]

И вообще помойму он усложняет проблему. Никто никого убирато небудет. Тем более если вещь стоящая, так спрячут и обеспечать по жизни всем.

А сколько стоит лицензия???
Может скинимся и купим :lol:

igorb4 | Post:13579 - Date: 24.11.05(10:57)
На http://www.ikar.udm.ru/mis-rt.htm появились новые статьи.
Инициирование свечения влажного воздуха УФ-фотонами.">При поглощении смачивающей гигроскопичную поверхность пленкой воды УФ-фотонов, способных расщеплять молекулы воды, в пленке происходит вспышка излучения фотонов в УФ и видимой области спектра. Она инициирует в контактирующем с пленкой влажном воздухе реакции, сопровождаемые генерацией электронного возбуждения. Возбуждение распространяется по воздуху на макроскопические расстояния, причем с увеличением влажности воздуха возрастает степень усиления переносимого возбуждения, а при повышении влажности выше 50% возбуждение воздуха приобретает колебательно-волновой характер.


Admin | Post:13580 - Date: 24.11.05(11:00)

Ответ от Канарева на мое письмо от 10 Янв 2005
...Одна американская фирма в договоре о намерениях, который подписан в конце прошлого года, потребовала от университета отказа вести с кем-либо переговоры на эту тему, пока она не закупит лицензии на все патенты. Срок действия договора до 1 апреля этого года.

А дата никаких вопросов не вызывает?

_________________
...наука ещё не знает способов обращать зверей в людей...


mikle10 | Post:13625 - Date: 24.11.05(19:04)
Фигня это. На ФИПС до хрена патентов по Канареву. Если все как он пишет, то тогда и патентовалось бы по другому. Да и разработка велась бы другим путем. И уж поверьте в нете был бы до хрена материала, эффект волны прошла шумиха и все. :twisted:
А так или процесс нестабилен или ....

mikle10 | Post:13696 - Date: 25.11.05(19:06)
У меня тут возникла мысль. А что если эффекты Канарева воспроизводятся только :cry: на его элекролизере. А для других объемов жидкости (мизерные они у него) эффект невоспроизводим.

igorb4 | Post:13718 - Date: 25.11.05(20:20)
У меня тут возникла мысль. А что если эффекты Канарева воспроизводятся только :cry: на его элекролизере. А для других объемов жидкости (мизерные они у него) эффект невоспроизводим.
Основной постулат науки - повторяемость и проверяемость... 8)

Vadim_O | Post:13751 - Date: 26.11.05(05:08)
Диссоциацию воды провести не сложно, есть множество способов, но все дело в затратах на этот процесс. Похоже у Канарева что то с затратами, в его описаниях замечали определенные неточности в измерениях. Ну а то что его электролизер маленьким работает, похоже близко к истине.А вообще сама идея у Канарева интересная.

Примерно так же интересно, что в трубке Ранка (при некоторых условия) происходит диссоциация молекул воды (при перевозбуждении в средней, т.е. холодной зоне). Т.е. вначале начинается голубоватое свечение, а при большей степени возбуждения молекул, которые имеют небольшую кинетическую (тепловую) энергию, они диссоциируют (энергию девать некуда).

_________________
Желаю удачи, Вадим.


igorb4 | Post:19436 - Date: 06.02.06(17:23)
Н.Б.Делоне // СОЖ, 1998, №5, с. 90–95
Возмущение атомного спектра в переменном электромагнитном поле

Аннотация: Возмущение атомных уровней под действием внешнего переменного поля носит качественно иной характер, чем хорошо известный эффект Штарка в постоянном поле. Теория предсказывает новые эффекты, некоторые из них обнаружены экспериментально при использовании излучения мощных лазеров.
Общий вывод из эксперимента и теории состоит в том, что характер возмущения атомного спектра в переменном поле качественно отличается от характера возмущения в постоянном поле.
...
Результаты эксперимента подтвердили квадратичную зависимость сдвига линии поглощения от напряженности поля и позволили измерить величину динамической поляризуемости. Расчет дал величину, хорошо согласующуюся с измеренной.
...
3. Сдвиг уровня в переменном внешнем поле может достигать очень большой величины, превышающей не только собственные частоты в спектре атома, но и энергию связи электрона в исходном состоянии. Предельная величина сдвига пока является предметом экспериментальных и теоретических исследований <5>.
...
Лит.Делоне Н.Б., Крайнов В.П. // Успехи физ. наук. 1995. Ъ 165. С. 1295.

8 кГц
8 кГц
Размер: 5.23 KB

Res1 | Post:19577 - Date: 08.02.06(16:13)
igorb4, 😕 кто может объяснить эту фразу "микроволновым излучением с частотой 8КГц - там точно КГц а не ГГц и не ТГц? :roll:

Cobra | Post:19603 - Date: 08.02.06(21:59)
Можно есчо использовать ультра звуковой излучатель для превращения воды в пар, вода паподает на излучатель и превращается в пар, правдо холодный но это не проблема, пар проходит между электродами, можно применить метод резонанса но хорошо если это будет тогда в ваакуме, это тоже зделать элементарно, даже делать не надо уже есть готовые вакумные отсосы да и самому не сложно собрать. Да насчет паро-гениратора они тоже продаются на рынках, используются для освежителя воздуха, дбавляют туда разные ароматезаторы, у них пар такой густой плотный и кипельно белый. В общем получится очень хорошая заготовка для опытов.

igorb4 | Post:19675 - Date: 09.02.06(17:26)
кто может объяснить эту фразу "микроволновым излучением с частотой 8КГц - там точно КГц а не ГГц и не ТГц?
"кГц" в работе повторено трижды, кроме того и на картинке в графическом виде. Не думаю, что это опечатка. Думаю, здесь надо уточнить фразу словом "наложенной" частотой. В газах она может иметь порядок "кГц", в более твердых телах и плазме - МГц и выше...

Хм, вообще-то, это оказывается связано с выделенным:
Физический факультет СПбГУ: Программа вступительных экзаменов:
Эффект Штарка. Уширение спектральных линий.

В 1896 году П. Зееман открыл, что под действием внешнего магнитного поля спектральные линии расщепляются (эффект Зеемана). В 1913 году И. Штарк обнаружил расщепление спектральных линий под действием внешнего постоянного электрического поля (эффект Штарка). Последующие исследования этих эффектов показали, что в лабораторных условиях изменения атомных спектров в обоих случаях малы и составляют малые поправки к исходным спектрам при отсутствии внешних полей.
Возможности эксперимента резко изменились в середине этого века в связи с созданием мощных лазеров. Используя лазерное излучение сейчас можно создавать переменные электромагнитные поля напряженностью до E=10^12В/см=10^2Eа, где Eа – атомная напряженность поля. (Напомним, что атомная напряженность поля Eа = 5*10^9В/см – это напряженность поля на орбите электрона в атоме водорода, находящемся в основном состоянии.) Для сравнения приведем величину максимально достижимой напряженности постоянного электрического поля в лабораторных условиях: 10^5-10^6В/см. Большие напряженности поля ограничены возникновением пробоя в полевом промежутке. Огромная разница между напряженностью постоянного электрического поля и переменного поля лазерного излучения давала основание предполагать, что в поле лазерного излучения возмущение атомного спектра может быть весьма велико. Забегая вперед, отметим, что эти предположения оказались справедливыми, однако физика динамического эффекта Штарка в переменном поле оказалась существенно отличной от физики статического эффекта Штарка в постоянном поле.
Можно есчо использовать ультра звуковой излучатель для превращения воды в пар...
Когда СВЧ-печек на кухне ещё не стояло и народ только-только научился разогревать металлы СВЧ-полем, пытались также подбирать частоту и для кипечения воды...

Cobra | Post:19702 - Date: 09.02.06(21:28)
Вот про этот ультра звуковой излучатель я описивал чють выше
[ссылка] Мне кажится что гораздо лекче, будет, ионизировать паро-газовою смесь воды, чем саму воду,
по моиму это пхоже на генератор Суднекова. Суть ультразвука,
в уьтразвуковых увлажнителях воздуха вода из бачка подается на вибрирующую с высокой частотой пластину, где расщепляется в мельчайшие брызги ...

Cobra | Post:19703 - Date: 09.02.06(21:46)
Есть есче один способ, между двумя поралельными ультразвуковыми пластинами, настроиными в резонанс друг с другом, но немного со смещением так чтобы эта разница составляла гдето в инфразвуковом диапозоне 1-16Гц, тоисть момент столкновения звуковых волн между пластинами. Зазор между пластинами должен быть маленький не более 1мм, ну и соответственно пропустить через пластины либо пар, либо туже воду. Мне кажится что аппарат Казакова устроин по этой
системе, хоть он и пишет про инфразвук. инфразвук надо модулировать ультразвуком а иначе не будет эффекта.

igorb4 | Post:19725 - Date: 10.02.06(10:23)
Мне кажится что гораздо лекче, будет, ионизировать паро-газовою смесь воды, чем саму воду...
+ "Сдвиг уровня в переменном внешнем поле может достигать очень большой величины, превышающей не только собственные частоты в спектре атома, но и энергию связи электрона в исходном состоянии." 😀
+ Чем менее плотное тело, тем ниже требуется частота (ГГц->МГц->кГц) 😀
- В газе частота ниже, но она сильнее будет зависеть от его плотности (давления) 😕

След-но: идём в баню (парилку) и запускаем там генератор звуковой частоты, например, начиная с герцев до сотен килогерц... (возможно это будет в районе 8кГц <+/-километр>) :? Вопрос - как обнаружить результат (разложение воды)? Как поймать нужную частоту?
Есть есче один способ, между двумя поралельными ультразвуковыми пластинами, настроиными в резонанс друг с другом, но немного со смещением так чтобы эта разница составляла гдето в инфразвуковом диапозоне 1-16Гц, тоисть момент столкновения звуковых волн между пластинами. Зазор между пластинами должен быть маленький не более 1мм, ну и соответственно пропустить через пластины либо пар, либо туже воду. Мне кажится что аппарат Казакова устроин по этой
системе, хоть он и пишет про инфразвук. инфразвук надо модулировать ультразвуком а иначе не будет эффекта.
При расстоянии между пластинами =1мм резонанса на 1-16Гц ну никак не получишь. Скорость <звуковой> волны тогда должна быть порядка 1-0,5 мм/сек (менее 3.6 м/час) Улитка и то быстрее движется. 8)

SergeyA | Post:19751 - Date: 10.02.06(12:40)
igorb4,
При скорости звука в воде 1500 м/сек
Длина волны от частоты 8 кГц составит 18,75 см
Такая же длина ЭМВ в вакууме будет примерно при частоте 1,6 ГГц
Скорости распространения ЭМВ в воде не нашел 😕

igorb4 | Post:19754 - Date: 10.02.06(12:57)
Спасибо. Вопрос в другом - если это верно: "Сдвиг уровня в переменном внешнем поле может достигать очень большой величины, превышающей не только собственные частоты в спектре атома, но и энергию связи электрона в исходном состоянии", то на какой частоте это может происходить у водяного пара, например. :?

Cobra | Post:19808 - Date: 10.02.06(20:21)
Я набросал тут, правдо получился отстой ну должно быть понятно, я имелл в виду про этот резонанс.


Размер: 7.84 KB

[ 1 | 2 ] [>
У Вас нет прав отвечать в этой теме.
Форум - Водородные генераторы - Ячейка Мейера - Как разделить кислород и водород - Стр 1
🏠 Главная | 📚 Содержание | 💬 Форум | 📁 Файлы | 📩 Контакт